Produktgruppe: Möbeltüren- und Klappen
Ihr Suchergebnis besteht aus diesen 1223 Artikeln (kann ähnliche Treffer enthalten)…
Ihr Suchergebnis besteht aus diesen 1223 Artikeln (kann ähnliche Treffer enthalten)…
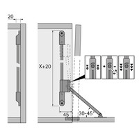
Hettich Öffnungswinkelbegrenzer für Intermat 9936 / 9936 W, Begrenzung von 95° auf 85°